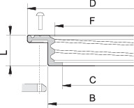
Specifications
- Connection: Flat Surface
- B – 219 mm
- D – 250 mm
- F – 210 mm
- C – 192 mm
- L – 38 mm
- Size: 8”

CUSTOM JETTERS, COMPLETE SOLUTIONS
Made to current anti-pollution standards, the lid is equipped with a double breather valve to empty the tank quickly with the lid closed, even with a high-delivery.
$15.09 excl. GST & Freight
